Together we build.
siklasicher.
Stainless Steel Products

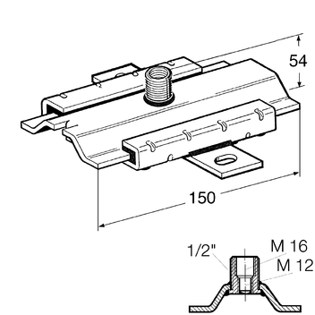
Slide Set GS H3G-PL ss

Application

Heavy-duty Slide Set for plant construction, to be used on Sikla Channels, brick or concrete walls and on bearers. This Slide Set is especially suitable for bolted mounting to the building structure.
To be used preferably in combination with Sikla Pipe Clamps Stabil D-3G ss. Various connection options of the pipe clamps depending on the respective load:
M12, M16 or with 1/2" adapters ss using the external thread (see Adapter AD f/f ss).
Sound absorption by means of slide rails in glass fibre reinforced polyamide.
Especially suitable for ceiling and floor mounting solutions and as a guide for rising pipes.

Installation

For pipes of NB 100 or larger having to be spaced at a distance from the Slide Set, or under conditions of reversed bending stress, the 3G triple thread nuts are to be secured by screwing on a 1/2" stainless steel Locking Nut.

Technical Data

Permissible load for ceiling mounting:
5.0 kN
Permissible load for floor mounting:
9.0 kN
Lever arm Lmax:
250 mm
Maximum sliding distance:
H3G-PL:
100 mm
H3G2-PL:
135 mm
Temperature range:
130°C (permanent exposure)
Static friction coefficient µ0 :
0.18
Sliding friction coefficient µ:
0.14

Material:
Metal components and slide rails:
Stainless steel A4
TypeW
[kg]
Quantity
[pack]
Part
number
H3G2-PL1.7710 170134
H3G-PL 1.3910 170152