Together we build.
siklasicher.

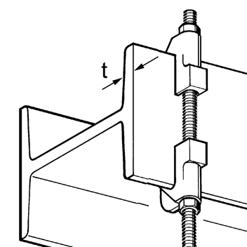
Application

Used in combination with profiled beams as a holder for single-point mountings or for mounting crossbars.

Installation

Equipped with a (ø 13 mm) boring for use with M8 to M12 grub screws. When using an M8 grub screw, we recommend the use of a flange nut. First tighten sturdy, after that tighten up with max 1 1/2 turns.

Technical Data

Load values

Material:
Malleable cast iron, electro-galvanised
TypeW
[kg]
Quantity
[pack]
Part
number
Hook Sleeve0.1250 106777