Together we build.
siklasicher.

Application

Solid connection element to fix pipework, electrical containment services to flat-steel bulk profiles.
May also be used for assemblies after the welding process or repair works to the steel profile. Possible to use as a single fixing or to assemble cross beams for multiple connections. No damage of the coating during installation.

Scope of delivery

Pre-assembled unit with hexagon bolt.

Installation

Tighten the bolt with max. 40 Nm torque. Connections made to M10 female thread.

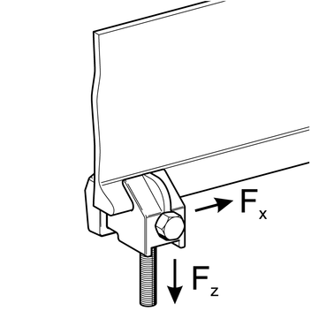
Technical Data

For bulb profiles from 80 to 120 mm
Fz adm. = 4.0 kN
Fx adm. = 2.0 kN

Material:
Main material:
Malleable iron
Bolt:
8.8, galvanised
TypeConnectionW
[kg]
Quantity
[pack]
Part
number
WFKM100.4120 198056