Together we build.
siklasicher.
Fixed Point Packages

Fixed Point Clamp FS

Application

To be used for Fixed Point installations in combination with Mounting Kits.
For completion a Mounting Kit (with or without sound absorption) and 4 braces (Sikla threaded tubes or rods) are needed.
For professional dimensioning of these components according to fixed point loads (up to 25 kN with sound absorption or up to 35 kN without sound absorption) our staff members give advice.
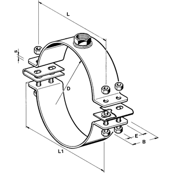
The symetric construction enables absorption of axial loads in both directions. The centrically welded M16 nut offers further connection possibilities.

Scope of delivery

Complete with 4 clamping bolts and 4 nuts M16, from size 108 mm onwards with spring inserts.
Clamping bolts, nuts and spring inserts are pre-assembled and secured
against falling out.

Installation

Tighten clamping bolts equally with the torque M as mentioned in the table.

Type
Tightening torque M
(Nm) 1)
1/2" ... 1 1/2" 50
57 mm ... 3" 80
108 mm ... 521 mm 100

1)
Tightening torque for combination FP clamp with steel pipe DIN EN 10220 / normal wall thickness. For pipes with smaller wall thickness or other material, the values have to be reduced.

Technical Data

Material:
Steel, all parts galvanised
Type d
[mm]
NBB
[mm]
s
[mm]
L
[mm]
L1
[mm]
E
[mm]
W
[kg]
Part
number
21.31/2"80574106451.05 159979
26.93/4"80579111451.09 159988
33.71"80586118451.15 159997
42.41 1/4"80595127451.25 160007
4580597129451.29 160016
48.31 1/2"805101133451.31 160025
57806109141451.67 160034
60.32"806113145451.69 160043
76.12 1/2"806129161451.87 160052
88.93"806141173452.09 160061
1081006166214503.31 160070
1144"1006172220503.35 160089
1331006191239503.67 160098
1395"1006198246503.78 160104
1591006207255504.05 160113
1686"1006217265504.28 160122
2198"1006278326504.91 160131
27410"1006331379505.57 160140
3241008390438508.22 160159
3561008422470508.94 160168
3681008434482509.17 160177
4071008473521509.58 160186
4191008485533509.99 160195
50810085746225011.68 160201
52110085876355013.20 160210